DS8000 Service Documentation Version 7.5

Exchange the rack identity card

Before you begin

Icon for electrostatic discharge wrist strapUse approved ESD procedures to prevent damage.

Attention:
  • This is not a stand-alone procedure. Customer disruption and damage to the hardware might occur if microcode and power boundaries are not in the proper conditions for this service action.
  • If you were sent here by a serviceable event FRU repair, the microcode and power boundaries have already been set.
  • If you were not sent here by a serviceable event FRU repair, see MAP1230 Replace a FRU without using a serviceable event.
Notes:
  • All the cables and FRUs to be removed must be uniquely identified so they can be reinstalled correctly.
  • If an installed earthquake resistance kit prevents you from accessing this FRU, refer to MAP1600.

Remove the rack identity card

Procedure

  1. To locate this FRU, do one of the following and then return here and continue to replace the FRU:
    • If this FRU has a FRU identify indicator, use the FRU identify indicator, which is listed in MAP1240 Locating FRUs using identify indicators. If not, use the location code.
      Note: There might be cases where the FRU failure or fencing conditions prevent the FRU LED indicator from being lit even if the FRU has power.
    • Use the location code, which is listed in MAP1245 Finding FRUs by using location codes.
    • If there is no FRU identify indicator or location code, you were sent here by an isolation MAP or symbolic FRU procedure. Use the information in that procedure and the figures in this procedure to locate the proper part to exchange.
  2. Most, but not all, FRUs have identify indicators. Use the flashing amber or solid blue FRU identify indicators to ensure that you are working on the correct enclosure or FRU.
    • The "light path" identify LEDs are a hierarchy of LEDs that can identify the rack, enclosure, FRU, and even the FRU connector to which a cable is connected.
    • For more information, refer to MAP1240 Locating FRUs using identify indicators.
  3. Is the rack identity card being replaced in Rack 1?
    • Yes, go to step 4.
    • No, the rack identity card is being replaced in an expansion rack. Go to step 5.
  4. Remove the rack identity cables from both RPCs, U2nnn.mmm.sssssss-C1-T1 and U2nnn.mmm.sssssss-C2-T1. See Figure 1. After the cables have been removed, go to step 6.
    Note: This end of the rack identity card cable is disconnected first to ensure that no unexpected signals reach the RPC card when the cable is disconnected from the rack identity card.
    Figure 1. Location codes for the RPC cards (Models 941, 951)
    RPC card
  5. Remove the rack identity cables from both primary power supplies (PPSs), U2nnn.mmm.sssssss-E1-T5 and U2nnn.mmm.sssssss-E2-T5. See Figure 2.
    Note: This end of the rack identity card cable is disconnected first to ensure that no unexpected signals reach the PPS when the cable is disconnected from the rack identity card.
    Figure 2. Location codes for the PPS sequencer module
    Location codes for the PPS sequencer module
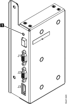
  6. Remove the cables from the rack identity card. See Figure 3
    Figure 3. Rack identity card
    Rack identity card
  7. Remove the screws fastening the rack identity card to the rack and then remove the card from the rack.

Install the rack identity card

Procedure

  1. Install the rack identity card in the rack.
  2. Secure the rack identity card in place by reattaching the screws Callout label 1.
  3. Do not press the white rocker switch at any time.
  4. The FRU verification tests for this FRU cannot detect disconnected or cross-connected cables. Use the location code label on each cable to ensure it is properly connected.
  5. Reconnect all cables at the rack identity card. See Figure 3.
    1. Reconnect the RPC card or PPS cables to J1 and J2.
    2. Reconnect the rack operator panel cable to J3.
  6. If you replaced the rack identity card in Rack 1:
    1. Reconnect the rack identity cable to RPC card connector C1-T1. See Figure 1.
    2. Reconnect the rack identity cable to RPC card connector C2-T1. See Figure 1.
    3. Go to step 8.
  7. If you replaced the rack identity card in an expansion rack:
    1. Reconnect the rack identity cable to PPS, E1-T5. See Figure 2.
    2. Reconnect the rack identity cable to PPS, E2-T5. See Figure 2.
    3. Go to step 8.
  8. Observe the rack identity card identify LED Callout label 1. See Figure 4.

    Is the LED blinking?

    • Yes, go to step 9.
    • No. The signal to blink the ID LED comes from both RPC cards. Ensure you properly connected the cables in step 6 and step 7. If they are properly connected, call the next level of support or replace the rack identity card again.
    Figure 4. LEDs on the rack identity card
    LEDs on the rack identity card
  9. Observe the rack identify LED Callout label 3. See Figure 5.

    Is the LED blinking?

    • Yes, go to step 10.
    • No. The signal to blink the rack identify LED comes from the rack identity card. Ensure the J3 cable is properly connected. At the front of the rack, open the cover and ensure the cable is properly connected to the LED assembly. If no problems are found, call the next level of support.
    Figure 5. Rack operator panel LEDs on upper right of rack front cover
    Rack operator panel LEDs on upper right of rack front cover
  10. Exit this service information center parts exchange procedure and return to the procedure that sent you here.