DS8000 Service Documentation Version 7.5

MAP1600 If earthquake resistance kit parts prevent you from servicing a rack

You are servicing a rack that is equipped with the optional earthquake resistance kit feature that includes braces on the front and rear of the rack. If a kit part prevents you from servicing the rack, use this MAP to remove it and then reinstall afterwards.

Procedure

Use Table 1 to find the earthquake resistance kit part that you need to remove. For help with the part names, see Figure 1 and Figure 2.
Table 1. Directory for removing earthquake resistance kit parts from the rack
To remove this part ... Go to ...
Front of rack  
     Brace extension frame MAP1600 Section-1
     X-brace MAP1600 Section-2
Rear of rack  
     Brace extension frame MAP1600 Section-3
     Tailgate access brace MAP1600 Section-4
     Vertical brace MAP1600 Section-5
     V-brace MAP1600 Section-6
     Storage enclosure (Models 951, 95E, 961, 96E) earthquake resistance bracket, rear MAP1600 Section-7
Figure 1. Earthquake resistance kit braces at the front of the rack
Earthquake resistance kit braces at the front of the rack
Table 2. Part names for the earthquake resistance kit braces (front of rack)
Index Part name
1 Brace extension frame
3 X-brace
Figure 2. Earthquake resistance kit braces at the rear of the rack
Earthquake resistance kit braces at the rear of the rack
Table 3. Part names for the earthquake resistance kit braces (rear of rack)
Index Part name
1 Brace extension frame
2 Tailgate access brace
3 Vertical brace
4 V-brace

MAP1600 Section-1 (Brace extension frame, front)

Before you begin

To remove the brace extension frame from the front of the rack, perform the procedure in this section.
Warning: The assembly that consists of the brace extension frame and X-braces weighs 21.5 kg (47.3 lbs). This weight exceeds the safe lifting limit for a single service representative. Removal of this assembly requires two service representatives. The brace extension frame alone weighs 17.0 kg (37.4 lbs). If another service representative is not available, you can remove the X-braces from the brace extension frame to lighten it and then remove the brace extension frame.

Procedure

  1. Remove seven screws Callout label 2 that secure the brace extension frame Callout label 1 to the rack.
    Note: Earlier frames have pre-threaded holes and later frames have the removable nut that will be loose once the screw is removed.
  2. Remove the brace extension frame and X-braces Callout label 3 as an assembly. See Figure 3.
  3. After the service action is complete, you must reinstall all hardware that was removed to allow service access.

Example

Figure 3. Earthquake resistance kit parts at the front of the rack
Seismic kit parts at the front of the rack
Table 4. Earthquake resistance kit parts (front of the rack)
Index Part name
1 Brace extension frame
2 Screw
2a Nut, earthquake resistance frame (only present if frame does not have pre-threaded holes)
3 X-brace
4 Screw
5 Washer

MAP1600 Section-2 (X-brace, front)

Before you begin

To remove an X-brace from the front of the rack, perform the procedure in this section.

Procedure

  1. Remove four screws Callout label 4 and four washers Callout label 5 that secure the X-brace Callout label 3 to the brace extension frame Callout label 1 and then remove the X-brace. See Figure 3.
  2. After the service action is complete, you must reinstall all hardware that was removed to allow service access.

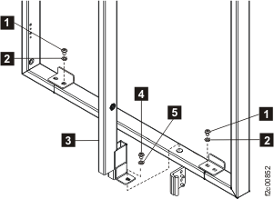
MAP1600 Section-3 (Brace extension frame, rear)

Before you begin

To remove the brace extension frame from the rear of the rack, perform the procedure in this section.
Warning: The assembly that consists of the brace extension frame, vertical brace, and V-braces weighs 30.6 kg (67.4 lbs). This weight exceeds the safe lifting limit for a single service representative. Removal of this assembly requires two service representatives. The brace extension frame alone weighs 17.0 kg (37.4 lbs). If another service representative is not available, you can remove the V-braces and the vertical brace from the brace extension frame to lighten it and then remove the brace extension frame.

Procedure

  1. Remove seven screws Callout label 1 that secure the brace extension frame Callout label 2 to the rack.
    Note: Earlier frames have pre-threaded holes and later frames have the removable nut that will be loose once the screw is removed.
  2. Remove the brace extension frame, vertical brace, and V-braces as an assembly. See Figure 4.
  3. After the service action is complete, you must reinstall all hardware that was removed to allow service access.

Example

Figure 4. Earthquake resistance kit parts at the rear of the rack (except V-braces)
Seismic kit parts at the rear of the rack (except V-braces)
Table 5. Earthquake resistance kit parts except V-braces (rear of the rack)
Index Part name
1 Screw
2 Brace extension frame
2a Nut, earthquake frame (only present if frame does not have pre-threaded holes)
3 Vertical brace
4 Bracket
5 Washer
6 Screw
7 Screw
8 Washer

MAP1600 Section-4 (Tailgate access brace)

Before you begin

To remove the tailgate access brace from the rear of the rack, perform the procedure in this section.

Procedure

  1. Remove two bolts Callout label 1 and washers Callout label 2 that secure the tailgate access brace to the bracket on the brace extension frame. See Figure 5.
  2. Remove the bolt Callout label 4 and washer Callout label 5 that secure the vertical brace Callout label 3 to the tailgate access brace.
  3. Remove the tailgate access brace.
  4. After the service action is complete, you must reinstall all hardware that was removed to allow service access.

Example

Figure 5. Tailgate access brace (rear of the rack)
Tailgate access brace (rear of the rack)
Table 6. Earthquake resistance kit parts for the tailgate access brace (rear of the rack)
Index Part name
1 Bolt
2 Washer
3 Vertical brace
4 Bolt
5 Washer

MAP1600 Section-5 (vertical brace, rear)

Before you begin

To remove the vertical brace Callout label 3 (Figure 4) from the rear of the rack (or to swing it out of the way by pivoting it at the top), perform the procedure in this section.

Procedure

  1. Remove the screw Callout label 7 and washer Callout label 8 that secure each V-brace (Callout label 1, Callout label 2, Callout label 3, or Callout label 4) to the vertical brace. See Figure 6.
    Figure 6. Earthquake resistance kit V-braces at the rear of the rack
    Seismic kit V-braces at the rear of the rack
    Table 7. Earthquake resistance kit V-braces (rear of the rack)
    Index Part name
    1 V-brace, main, upper
    2 V-brace, main, lower
    3 V-brace, power, lower
    4 V-brace, power, upper
    5 Screw
    6 Washer
    7 Screw
    8 Washer
  2. See Figure 4. At the top of the vertical brace Callout label 3, loosen the screw Callout label 6 that secures the vertical brace to the bracket Callout label 4 on the brace extension frame Callout label 2. The vertical brace can be pivoted on this screw.
  3. At the bottom of the vertical brace, remove the bolt Callout label 7 and washer Callout label 8 that secure the vertical brace Callout label 3 to the tailgate access brace.
  4. Pull the bottom of the vertical brace away from the tailgate access brace and the brace extension frame.
  5. If necessary, at the top of the vertical brace, remove the screw Callout label 6 that secures the vertical brace to the bracket on the brace extension frame and then remove the vertical brace.
  6. After the service action is complete, you must reinstall all hardware that was removed to allow service access.

MAP1600 Section-6 (V-brace, rear)

Before you begin

To remove a V-brace from the rear of the rack (or to swing it out of the way), perform the procedure in this section.

Procedure

  1. See Figure 6. Remove the screw Callout label 7 and washer Callout label 8) that secure the V-brace Callout label 1, Callout label 2, Callout label 3, or Callout label 4 to the vertical brace.
  2. The V-brace is hinged where it is attached to the brace extension frame. Swing the V-brace outward on its hinges.
  3. If necessary, remove the screws Callout label 5 and washers Callout label 6 that secure the V-brace to the brace extension frame and remove the V-brace.
  4. After the service action is complete, you must reinstall all hardware that was removed to allow service access.

MAP1600 Section-7 (Storage enclosure [Models 951, 95E, 961, 96E] earthquake resistance bracket, rear)

Before you begin

To remove a storage enclosure bracket at the rear, perform the procedure in this section.

Procedure

  1. At the rear of the rack, remove the nylock nut attaching the black bracket to the left and right horizontal rails. See Figure 7.
  2. Slide the bracket away from the storage enclosure so the middle support disengages the slot. See Figure 8.
  3. After the service action is complete, you must reinstall all hardware that was removed to allow service access.

Example

Figure 7. Nylock nut for earthquake bracket
Nylock nut for earthquake bracket
Figure 8. Storage enclosure middle slot
Storage enclosure middle slot