Rack brackets, sheet metal, and covers part numbers, Models 961, 96E

Use the figures and tables below to find information about parts such as rack brackets, sheet metal, and covers.

Note: The following part numbers are the most recent for this version of the Parts Catalog. Your storage facility or serviceable event FRU list might contain an older or newer part number. The parts-ordering system recognizes all valid part numbers and automatically substitutes an available part number as needed.
Figure 1. Rack cover parts
Parts covers
Table 1. Rack brackets, sheet metal, covers parts (Models 961, 96E)
Index Part name Part number
1 Cover, front, Models 961, 96E 98Y2405
2 Screw 54G2882
3 Cover, side 22R59662
4 Cover, rear, left3 22R6938
5 Screw (M5x8) 39J3128
6 Cover, rear, right3 22R6940
7 Pin, cover hinge 22R4298
8 Cover, side 22R59662
9 Bracket, side cover-to-rack N/A
10 Screw, side cover bracket 1621842
11 Bracket, bottom hinge 22R4959
12 Screw, bracket-to-frame 23R1520
13 Hinge, rear cover 18P4578
14 Screw, rear cover hinge-to-frame 23R1520
Notes:
  1. Two finger latches secure the early version cover (at the side of the rack).
  2. Two screws (P/N 31L7540) secure the later version cover (at the top of the rack).
  3. Viewed from the front.
Figure 2. Front cover latch parts
Front cover latch parts
Table 2. Front cover latch parts (Models 961, 96E)
Index Part name Part number
1 Cover, front, aluminum 22R1404
Cover, front, steel 23R0275
2 Latch, front cover 21P4054
3 Screw, bracket-to-frame 22R0780
4 Bracket, front cover latch 41V0082
Figure 3. Front cover stop and lower hinge parts
Front cover stop and lower hinge parts
Table 3. Front cover stop and lower hinge parts (Models 961, 96E)
Index Part name Part number
1 Cover, front, aluminum 22R1404
Cover, front, steel 23R0275
2 Screw, stop strap (M6x20)1 22R3604
3 Washer, stop strap1 22R3496
4 Bushing/spacer, stop strap1 22R3495
5 Bracket, stop strap1 22R3481
6 Screw, bracket/hinge-to-frame 23R1520
7 Bracket/hinge, front cover mount, lower 22R4959
Notes:
  1. Part of the stop strap kit P/N 23R1261.
Figure 4. Rear cover latch parts
Rear cover latch parts
Table 4. Rear cover latch parts (Models 961, 96E)
Index Part name Part number
1 Screw, bracket-to-frame 23R1520
2 Bracket, rear cover latch 23R0871
3 Rear cover, right1 23R1520
4 Latch, rear cover 21P4054
Notes:
  1. Viewed from the front.
Figure 5. Interrack spacer studs
Installing the spacer studs
Table 5. Interrack spacer studs (Models 961, 96E)
Index Part name Part number
1 Bolt, interrack spacer stud 1621545
2 Washer, interrack spacer stud (M8) 84X5850
3 Spacer stud, interrack 22R5046
Figure 6. Installing the interrack decorative covers
Installing the interrack decorative covers
Table 6. Interrack decorative covers (Models 961, 96E)
Index Part name Part number
1 Cover, interrack decorative, side (one-piece early version) 22R4964
2 Cover, interrack decorative, side (two-piece/hinged later version) 23R10501
3 Cover, interrack decorative, top 22R4962
Notes:
  1. For details, see Figure 7.
Figure 7. Assembling the later version of the interrack decorative side covers
Side interrack covers
Table 7. Interrack decorative side covers (later version) (Models 961, 96E)
Index Part name Part number
1 Cover, interrack decorative, side (two-piece/hinged later version) 23R1050
2 Bracket 23R2044
3 Nut 84X4841
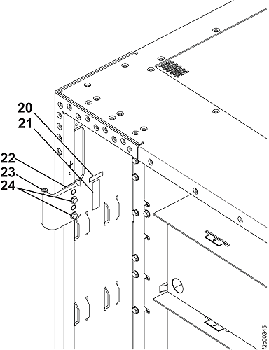
Figure 8. Rack labels
Frame labels
Table 8. Frames and covers labels (Models 961, 96E)
Index Part name Part number
20 Label, serial number 05J7400
21 Label, barcode serial number 44F0924
22 Shim, rear door adjustment 22R6151
23 Hinge, rear covers 18P4578
24 Screw, rear hinges 54G2882
Figure 9. Rack shelves and brackets
Frame shelves and brackets
Table 9. Frames and covers PPS shelf and bracket (Models 961, 96E)
Index Part name Part number
30 Shelf, PPS 22R4942
31 Screw, PPS shelf mounting (M5x6) 1621329
N/A Bracket, PPS left (not shown) 22R4943
32 Bracket, PPS right 22R4944
33 Screw, PPS bracket (M5x8) 1621842
Figure 10. Rack shelves and brackets
Frame shelves and brackets
Table 10. Frames and covers PPS shelf and bracket (Models 961, 96E)
Index Part name Part number
35 Housing assembly, RPC card 22R4940
36 Bracket, cable routing 22R6122
37 Rivets, RPC housing 04F1988
Figure 11. Rack shelves and brackets
Time of day battery
Table 11. Frames and covers brackets and screws (Models 961, 96E)
Index Part name Part number
40 Bracket, cable routing 22R6135
41 Screw, cable routing bracket 1621842
42 Bracket, cable routing 22R6136
43 Bracket, bus bar 22R6132
44 Screw, bus bar 54G2882
45 Screw, bus bar 1624775
46 Bracket, side covers N/A
47 Screw, side cover bracket 1621842
Figure 12. Rack shelves and wrappers
Time of day battery
Table 12. Frames and covers shelves and wrappers (Models 961, 96E)
Index Part name Part number
50 Screw 1621842
51 Bracket, PPS left 22R4943
52 Slide, PPS 22R0780
53 Screw, PPS slide mounting (M5x8) 22R0780
54 Shelf, battery 22R4946
55 Screw, battery shelf 1621842
56 Wrapper, I/O enclosure 23R1338
57 Screw, wrapper 54G2882
58 Nut clip, wrapper 74F1823
Figure 13. Rack shelves and brackets
Frame shelves and brackets
Table 13. Frames and covers brackets and screws (Models 961, 96E)
Index Part name Part number
60 Tailgate bar 23R0039
61 Tailgate assembly, early version1 N/A
61 Tailgate assembly, later version2 23R2456
62 Screw, tailgate assembly 1621842
63 Bracket, cable 22R4947
64 Screw, cable bracket 1624775
65 Screw, cable bracket 54G2882
Notes:
  1. See Figure 14
  2. See Figure 15.
Figure 14. Tailgate parts (early version)
Tailgate parts (early version)
Table 14. Tailgate parts (early version) (Models 961, 96E)
Index Part name Part number
70 Bracket, strain relief N/A
71 Screw, strain relief assembly mounting N/A
72 Tailgate frame N/A
73 Tailgate insert (clamping bracket)1 N/A
74 Tailgate insert (clamping bracket)2 N/A
75 Tailgate insert (clamping bracket)3 N/A
76 Tailgate insert (clamping bracket)4 N/A
Notes:
  1. The rubber pad on the left side of the bracket is 11 mm (0.43 in.) thick.
    The right pad is 6 mm (0.24 in.) thick.
  2. The rubber pad on the left side of the bracket is 9 mm (0.35) thick.
    The right pad is 6 mm (0.24 in.) thick.
  3. The rubber pad on the left side of the bracket is 6 mm (0.24) thick.
    The right pad is 11 mm (0.43 in.) thick.
  4. The rubber pad on each side of the bracket is 11 mm (0.43 in.) thick.
Figure 15. Tailgate parts (later version)
Tailgate parts (later version)
Table 15. Tailgate parts (later version) (Models 961, 96E)
Index Part name Part number
1 Tailgate frame 22R2457
2 Bracket, strain relief 22R4950
3 Tailgate insert (clamping bracket) 1
4 Screw 54G2882
Notes:
  1. Call the next level of support.
Figure 16. Caster parts
Caster parts
Table 16. Casters (Models 961, 96E)
Index Part name Part number
80 Nut, caster mounting 1622420
81 Caster 22R4156
82 Caster load plate 22R4155
83 Caster shock pad 22R4154