This topic presents information on rack power and cooling part numbers for Models 941, 94E.
Use Table 1 as a directory for rack power and cooling part numbers for Models 941, 94E.
| Part name | Figure |
|---|---|
| 5/12V DDM power module | Figure 2 |
| Battery module set (a set is three battery modules) | Figure 1 |
| Battery module enclosure | Figure 1 |
| Battery module enclosure fan | Figure 1 |
| Battery module filler | Figure 1 |
| Booster power module | Figure 2 |
| Bus bar A1, 208VDC, primary | Figure 9 |
| Bus bar B1, 208VDC, primary | Figure 9 |
| Bus bar A2 and B2, 208VDC, secondary | Figure 10 |
| Bus bar A and B, 5/12V, primary | Figure 7 |
| Bus bar A and B, 5/12V, secondary | Figure 7 |
| Bus bar A, 5/12V, primary to 5/12V secondary | Figure 8 |
| Bus bar B, 5/12V, primary to 5/12V secondary | Figure 8 |
| Cables, battery module set | Figure 14 |
| Cables, bus bar, A1, 208VDC, primary | Figure 12 |
| Cables, bus bar, B1, 208VDC, primary | Figure 12 |
| Cables, bus bar, A2, 208VDC, secondary | Figure 12 |
| Cables, bus bar, B2, 208VDC, secondary | Figure 12 |
| Cables, fan sense card | Figure 15 |
| Cables, primary power supply (PPS) | Figure 11 |
| Cables, rack identity card | Figure 17 |
| Cables, rack operator panel UEPO switch assembly | Figure 18 |
| Cables, RPC card | Figure 19 |
| DASD fan tray assembly | Figure 4 |
| Fan sense card | Figure 3 |
| Mainline power cable | Table 11, Index 1 |
| Local remote switch card | Figure 4 |
| Primary power supply | Figure 2 |
| Primary power supply fan | Figure 2 |
| Rack identity card | Figure 4 |
| Rack operator panel UEPO switch assembly | Figure 5 |
| RPC card | Figure 3 |
| Sequencer module | Figure 2 |
| zSeries local remote switch card | Figure 4 |
| All other parts | (Find the appropriate figure below) |

| Index | Part name | Part number |
|---|---|---|
| 1 | Battery module enclosure | 22R4417 |
| 2 | Screw | 54G2882 |
| 3 | Battery module filler | 23R0207 |
| 3 | Battery module set (three modules) | 45W6796 2 Screws |
| 3 | Battery module set FRU shipping materials (box, pads, pallet, and field strapping kit). Only to be ordered if the shipping materials for the new FRU have been lost or damaged. | 45W9747 |
| 3 | Field strapping kit, see FRU shipping materials above. | 92X9720 |
| 4 | Battery module frame (not a FRU) | 1 |
| 5 | Battery module enclosure fan | 22R4419 |
| 6 | Fan guard, battery module enclosure | 93H6016 |
| 7 | Screw | 1621200 |
Notes:
|
||

| Index | Part name | Part number |
|---|---|---|
| 1 | Primary power supply (PPS) A base PPS contains the following parts:
|
22R4215 |
| 2 | Screw | 54G2882 |
| 3 | Fan guard | 22R5052 |
| 4 | Screw, fan guard | 22R6069 |
| 5 | PPS Fan | 22R4210 |
| 6 | Booster power module (optional) | 23R0493 |
| 7 | Screw | 54G2882 |
| 8 | 5/12V DDM power module1 (optional) | 22R4207 |
| 8 | Cover2 | 22R4212 |
| 9 | Screw | 3 |
| 10 | 5/12V DDM power module | 22R4207 |
| 11 | Screw | 3 |
| 12 | Sequencer module | 23R0639 |
Notes:
|
||

| Index | Part name | Part number |
|---|---|---|
| 22 | Fan sense card | 22R4917 |
| 23 | Screw | 1621842 |
| 24 | RPC card | 95P1959 |

| Index | Part name | Part number |
|---|---|---|
| 28 | Rack identity card | 22R5740 |
| 29 | Screw | 54G2882 |
| 30 | Card, local remote switch | 95P1963 |
| 30 | Card, zSeries local remote switch | 95P1962 |
| 31 | Screw | 54G2882 |
| 32 | DASD fan tray assembly | 22R5051 |

| Index | Part name | Part number |
|---|---|---|
| 40 | Rack operator panel UEPO switch assembly | 22R5741 |
| 41 | Cover gasket | 22R1453 |
| 42 | Label, agency | 22R1790 |
| 43 | Label, country of origin, Hungary | 53P5888 |
| 43 | Label, country of origin, US | 44P3946 |
| 44 | Label, IBM logo | 97P2549 |
| 45 | Label, manufacturing site, Hungary | 22R1805 |
| 45 | Label, manufacturing site, San Jose, CA | 22R1804 |
| 46 | Label, Nordic | 97P5092 |

| Index | Part name | Part number |
|---|---|---|
| 1 | Screw, operator panel gate | 54G2882 |
| 2 | Screw, operator panel gate | 1624775 |
| 3 | Operator panel gate | 22R4905 |
| 4 | Label, operator panel | 22R5887 |
| 5 | Door, operator panel, early version1 | N/A |
| Door, operator panel, later version1 | 22R3997 | |
| 6 | Label, emergency switch | 22R1047 |
| 7 | Housing, operator panel, early version1 | N/A |
| Housing, operator panel, later version1 | 22R3996 | |
| 8 | Screw, operator panel gate2 | 1621319 |
| 9 | Lock nut, housing mounting | 1622417 |
| 10 | Washer, housing mounting | 1622276 |
| 11 | Screw, connector-to-housing | 1622660 |
Notes:
|
||

| Index | Part name | Part number |
|---|---|---|
| 60 | Bus bar A, 5/12V, primary | 22R6100 |
| 61 | Bus bar B, 5/12V, primary | 22R6101 |
| 62 | Bus bar A, 5/12V, secondary | 22R6102 |
| 63 | Bus bar B, 5/12V, secondary | 22R6103 |
| 64 | Washer | 1622276 |
| 65 | Lock nut | 1622418 |
| 66 | Bolt | 22R0321 |
| 67 | Cable, bus bar -to- bus bar | 22R6105 |
| 68 | Cable, bus bar -to- bus bar | 22R6104 |


| Index | Part name | Part number |
|---|---|---|
| 80 | Bus bar B1, 208VDC, primary | 22R6125 |
| 81 | Bus bar A1, 208VDC, primary | 22R6124 |
| 82 | Washer | 1622276 |
| 83 | Lock nut | 1622418 |

| Index | Part name | Part number |
|---|---|---|
| 85 | Bus bar A2 and B2, 208 VDC, secondary | 22R6126 |
| 86 | Screw | 54G2882 |

| Index | Part name | Part number |
|---|---|---|
| 1 | Cable, power (3-phase), short (PPS-2), 60A Chicago (7.7 feet) | 22R1188 |
| Cable, power (3-phase), long (PPS-1), 60A Chicago (9.5 feet) | 22R1189 | |
| Cable, power (1-phase), short (PPS-2), Chicago (7.7 feet) | 17P9590 | |
| Cable, power (1-phase), long (PPS-1), Chicago (9.5 feet) | 17P9591 | |
| Cable, power (3-phase), long (PPS-1), 60A Japan (17.5 feet) | 22R2224 | |
| Cable, power (3-phase), short (PPS-2), 60A Japan (15.8 feet) | 22R1191 | |
| Cable, power (3-phase), long (PPS-1), EMEA (17.5 feet) | 22R3795 | |
| Cable, power (3-phase), short (PPS-2), EMEA (15.8 feet) | 22R3794 | |
| Cable, power (1-phase), long (PPS-1), EMEA (17.5 feet) | 17P9596 | |
| Cable, power (1-phase), short (PPS-2), EMEA (15.8 feet) | 17P9595 | |
| Cable, power (3-phase), long (PPS-1), non-EMEA (17.5 feet) | 22R2222 | |
| Cable, power (3-phase), short (PPS-2), non-EMEA (15.8 feet) | 22R1190 | |
| Cable, power (1-phase), long (PPS-1), non-EMEA (17.5 feet) | 17P9593 | |
| Cable, power (1-phase), long (PPS-1), non-EMEA (17.5 feet) | 17P9592 | |
| 2 | Cable, PPS-1 -to- 5/12V bus bar | 17P8592 |
| Cable, PPS-2 -to- 5/12V bus bar | 17P8593 | |
| 3 | Cable, PPS -to- 5/12V bus bar Base rack only |
17P8587 |
| Cable, PPS -to- 5/12V bus bar Expansion rack only |
17P8589 | |
| 4 | Cable, PPS -to- 5/12V bus bar Base rack only |
17P8587 |
| Cable, PPS -to- 5/12V bus bar x Expansion rack only |
17P8588 | |
| 5 | Cable, PPS-1 -to- 5/12V bus bar | 17P8590 |
| Cable, PPS-2 -to- 5/12V bus bar | 17P8591 | |
| 6 | Cable, PPS -to- RPC card (except Rack-1) | 22R6139 |
| Cable, PPS -to- RPC card (Rack 1) | 22R6147 | |
| 7 | Cable, PPS -to- RPC card (except Rack-1) | 22R6140 |
| Cable, PPS -to- RPC card (Rack 1) | 22R6148 | |
| 8 | Cable, PPS-1 -to- rack identity card | 22R5756 |
| Cable, PPS-2 -to- rack identity card | 22R5757 | |
| 9 | Cable, PPS -to- PPS | 22R5754 |
| 10 | Cable, PPS-1 -to- fan sense card | 22R1772 |
| Cable, PPS-2 -to- fan sense card | 22R5744 | |
| 11 | Cable, PPS-1 -to- fan sense card | 22R5746 |
| Cable, PPS-2-to- fan sense card | 22R5747 | |
| 12 | Cable, PPS-1 -to- battery module | 22R5752 |
| Cable, PPS-2 -to- battery module | 22R5753 | |
| 13 | Cable (multi-connector power cord)1 | 22R5759 |
| 14 | Cable (multi-connector power cord)1 | 22R5759 |
| 15 | Cable, PPS-1-to- battery module | 22R5749 |
| Cable, PPS-2 -to- battery module | 22R5750 | |
| 16 | Cable, PPS -to- rack operator panel UEPO switch | 21R9592 |
| 17 | Cable, PPS -to- 208V bus bar | 22R6127 |
| 18 | Cable, PPS -to- 208V bus bar2 | 22R6127 |
| 19 | Cable, PPS -to- 208V bus bar | 22R6127 |
| 20 | Cable, PPS -to- 5/12V bus bar x Expansion rack only |
17P8588 |
| 21 | Cable, PPS -to- 5/12V bus bar Expansion rack only |
17P8589 |
| 22 | Screw, 5/12V cable retention | 22R0123 |
Notes:
|
||

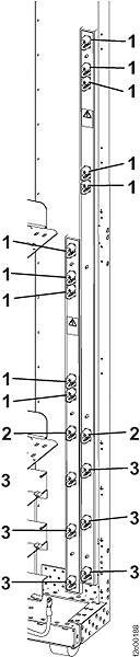
| Index | Part name | Part number |
|---|---|---|
| 1 | Cable, 208V bus bar -to- PPS | 22R6127 |
| 2 | Cable, 208V bus bar A1 -to- 208V bus bar A2 | 22R6129 |
| Cable, 208V bus bar B1 -to- 208V bus bar B2 | 22R6130 | |
| 3 | Cable, 208V bus bar -to- battery module | 22R6128 |

| Index | Part name | Part number |
|---|---|---|
| 1 | Cable, 208V bus bar B2 -to- CEC enclosure power supply XC1-E1, XC2-E1 | 22R5828 |
| 2 | Cable, 208V bus bar A2 -to- CEC enclosure power supply XC1-E2, XC2-E2 | 22R5829 |
| 3 | Cable, 208V bus bar B2 -to- I/O enclosure power supply XI2-E2, XI4-E2 | 45W1170 |
| 4 | Cable, 208V bus bar B2 -to- I/O enclosure power supply XI1-E2, XI3-E2 | 45W1172 |
| 5 | Cable, 208V bus bar A2 -to- I/O enclosure power supply XI2-E1, XI4-E1 | 45W1169 |
| 6 | Cable, 208V bus bar A2 -to- I/O enclosure power supply XI1-E1, XI3-E1 | 45W1171 |

| Index | Part name | Part number |
|---|---|---|
| 1-2 | Cable, battery module -to- PPS-1 | 22R5752 |
| Cable, battery module -to- PPS-2 | 22R5753 | |
| 3-4 | Cable, battery module -to- 208V bus bar | 22R6128 |
| 5 | Cable, battery module -to- PPS-1 | 22R5749 |
| 6 | Cable, battery module -to- PPS-2 | 22R5750 |

| Index | Part name | Part number |
|---|---|---|
| 1-4 | Cable, fan sense card (front)-to-center
wall bulkhead1 (cable bundle) (Connector J1 cable goes to storage enclosure XS11, J2 to XS12, J3 to XS13, J4 to XS14) Note: Order both cables: fan sense card to bulkhead and bulkhead
to storage enclosure.
|
22R6110 (new); 22R1150 (old) |
| Cable, center wall bulkhead-to-storage
enclosure1 (individual cable) Note: Order both cables:
fan sense card to bulkhead and bulkhead to storage enclosure.
|
22R6431 (new); 22R6109 (old) | |
| 5-8 | Cable, fan sense card (front)-to-center
wall bulkhead1, 2 (cable bundle) (Connector J5 cable goes to storage enclosure XS15, J6 to XS16, J7 to XS17, J8 to XS18) Note: Order both cables: fan sense card to bulkhead and bulkhead
to storage enclosure.
|
22R6112 (new); 22R1152 (old) |
| Cable, center wall bulkhead-to-storage
enclosure (individual cable)1, 2 Note: Order both cables:
fan sense card to bulkhead and bulkhead to storage enclosure.
|
22R6431 (new); 22R6109 (old) | |
| 9-10 | Cable, fan sense card (front) -to- DASD fan trays 1 and 2 | 22R5474 |
| 11 | Cable, fan sense card (front) -to- PPS-1 (upper) | 22R5743 |
| 12 | Cable, fan sense card (front) -to- PPS-2 (lower) | 22R5746 |
| 13 | Cable, fan sense card (front) -to- rack identity card | 22R5916 |
| 14 | Cable, fan sense card -to- fan sense card | 22R5476 |
Notes:
|
||
| Index | Part name | Part number |
|---|---|---|
| 1-4 | Cable, fan sense card (rear)-to-center
wall bulkhead1 (cable bundle) (Connector J1 cable goes to storage enclosure XS21, J2 to XS22, J3 to XS23, J4 to XS24). Note: Order both cables: fan sense card to bulkhead and bulkhead
to storage enclosure.
|
22R6111 (new); 22R1151 (old) |
| Cable, center wall bulkhead-to-storage
enclosure1 (individual cable) Note: Order both cables:
fan sense card to bulkhead and bulkhead to storage enclosure.
|
22R6431 (new); 22R6109 (old) | |
| 5-8 | Cable, fan sense card (rear)-to-center
wall bulkhead1, 2 (cable bundle) (Connector J5 cable goes to storage enclosure XS25, J6 to XS26, J7 to XS27, J8 to XS28) Note: Order both cables: fan sense card to bulkhead and
bulkhead to storage enclosure.
|
22R6113 (new); 22R1153 (old) |
| Cable, center wall bulkhead-to-storage
enclosure (individual cable)1, 2 Note: Order both cables:
fan sense card to bulkhead and bulkhead to storage enclosure.
|
22R6431 (new); 22R6109 (old) | |
| 9-10 | Cable, fan sense card (rear) -to- DASD fan tray 3 | 22R5475 |
| 11 | Cable, fan sense card (rear) -to- PPS-2 (lower) | 22R5744 |
| 12 | Cable, fan sense card (rear) -to- PPS-1 (upper) | 22R5747 |
| 13 | Cable, fan sense card (rear) -to- rack identity card | 22R5917 |
| 14 | Cable, fan sense card -to- fan sense card | 22R5476 |
Notes:
|
||

| Index | Part name | Part number |
|---|---|---|
| 1 | Cable, DASD fan tray -to- 5/12V secondary bus bar | 22R5473 |
| 2 | Cable, DASD fan tray -to- 5/12V secondary bus bar | 22R5472 |
| 3 | Cable, DASD fan tray -to- fan sense card (front) | 22R5474 |
| 4 | Cable, DASD fan tray -to- fan sense card (rear) | 22R5475 |

| Index | Part name | Part number |
|---|---|---|
| 1 | Cable, rack identity card -to- fan sense card (front) | 22R5916 |
| 2 | Cable, rack identity card -to- fan sense card (rear) | 22R5917 |
| 3-4 | Cable, rack identity card -to- CEC enclosure 1 | 22R5919 |
| Cable, rack identity card -to- CEC enclosure 2 | 22R5920 | |
| Cable, rack identity card -to- CEC enclosure 3 | 22R5921 | |
| 5 | Cable, rack identity card -to- I/O enclosure | 22R5922 |
| 6 | Cable, rack identity card -to- I/O enclosure | 22R5923 |
| 7 | Cable, rack identity card -to- I/O enclosure | 22R5924 |
| 8 | Cable, rack identity card -to- I/O enclosure | 22R5925 |
| 9 | Cable, rack identity card -to- PPS | 22R5756 |
| 10 | Cable, rack identity card -to- PPS | 22R5757 |
| 11 | Cable, rack identity card -to- RPC card | 22R6145 |
| 12 | Cable, rack identity card -to- RPC card | 22R6146 |
| 13 | Cable, rack identity card -to- rack operator panel LED assembly | 22R5758 |
| 14 | Cable, local remote switch card -to- RPC card | 22R6141 |
| 15 | Cable, local remote switch card -to- RPC card | 22R6142 |

| Index | Part name | Part number |
|---|---|---|
| 1 | Cable, rack operator panel LED assembly | 22R5758 |
| 2 | Cable, rack operator panel UEPO switch | 22R5741 |
| 3 | Screw, connector-to-housing | 1622660 |

| Index | Part name | Part number |
|---|---|---|
| 1 | Cable, RPC card -to- RPC card | 22R6138 |
| 2 | Cable, RPC card -to- rack identity card | 22R6145 |
| 3 | Cable, RPC card -to- rack identity card | 22R6146 |
| 4 | Cable, RPC card -to- local remote switch card | 22R6141 |
| 5 | Cable, RPC card -to- local remote switch card | 22R6142 |
| 6 | Cable, RPC card -to- PPS (rack 1) | 22R6147 |
| 7 | Cable, RPC card -to- PPS (rack 1) | 22R6148 |
| 8-9 | Cable, RPC card -to- CEC enclosure 1 | 22R6143 |
| 10-11 | Cable, RPC card -to- CEC enclosure 2 | 22R6144 |
| 12 | Cable, RPC card -to- PPS (expansion rack) | 22R6139 |
| 13 | Cable, RPC card -to- PPS (expansion rack) | 22R6140 |