Use the figures and tables below to find information about
parts such as rack brackets, sheet metal, and covers.
Note: The following part numbers are the most recent
for this version of the Parts Catalog. Your storage facility or serviceable
event FRU list might contain an older or newer part number. The parts
ordering system recognizes all valid part numbers and will automatically
substitute an available part number as needed.
Figure 1. Rack cover parts
Table 1. Rack brackets, sheet metal,
covers parts (Models 941, 94E)| Index |
Part name |
Part number |
| 1 |
Cover, front, Models 941, 94E |
45W4242 |
| 2 |
Screw |
54G2882 |
| 3 |
Cover, side |
22R59662 |
| 4 |
Cover, rear, left3 |
22R6938 |
| 5 |
Screw (M5x8) |
39J3128 |
| 6 |
Cover, rear, right3 |
22R6940 |
| 7 |
Pin, cover hinge |
22R4298 |
| 8 |
Cover, side |
22R59662 |
| 9 |
Bracket, side cover-to-rack |
N/A |
| 10 |
Screw, side cover bracket |
1621842 |
| 11 |
Bracket, bottom hinge |
22R4959 |
| 12 |
Screw, bracket-to-frame |
23R1520 |
| 13 |
Hinge, rear cover |
18P4578 |
| 14 |
Screw, rear cover hinge-to-frame |
23R1520 |
Notes: - Two finger latches secure the early version cover (at the side
of the rack).
- Two screws (P/N 31L7540) secure the later version cover (at the
top of the rack).
- Viewed from the front.
|
Figure 2. Front cover
latch parts
Table 2. Front cover latch parts (Models
941, 94E)| Index |
Part name |
Part number |
| 1 |
Cover, front, aluminum |
22R1404 |
| Cover, front, steel |
23R0275 |
| 2 |
Latch, front cover |
21P4054 |
| 3 |
Screw, bracket-to-frame |
22R0780 |
| 4 |
Bracket, front cover latch |
41V0082 |
Figure 3. Front cover
stop and lower hinge parts
Table 3. Front cover stop and lower
hinge parts (Models 941, 94E)| Index |
Part name |
Part number |
| 1 |
Cover, front, aluminum |
22R1404 |
| Cover, front, steel |
23R0275 |
| 2 |
Screw, stop strap (M6x20)1 |
22R3604 |
| 3 |
Washer, stop strap1 |
22R3496 |
| 4 |
Bushing/spacer, stop strap1 |
22R3495 |
| 5 |
Bracket, stop strap1 |
22R3481 |
| 6 |
Screw, bracket/hinge-to-frame |
23R1520 |
| 7 |
Bracket/hinge, front cover mount, lower |
22R4959 |
Notes: - Part of the stop strap kit P/N 23R1261.
|
Figure 4. Rear cover
latch parts
Table 4. Rear cover latch parts (Models
941, 94E)| Index |
Part name |
Part number |
| 1 |
Screw, bracket-to-frame |
23R1520 |
| 2 |
Bracket, rear cover latch |
23R0871 |
| 3 |
Rear cover, right1 |
23R1520 |
| 4 |
Latch, rear cover |
21P4054 |
Notes: - Viewed from the front.
|
Figure 5. Interrack
spacer studs
Table 5. Interrack spacer studs (Models
941, 94E)| Index |
Part name |
Part number |
| 1 |
Bolt, interrack spacer stud |
1621545 |
| 2 |
Washer, interrack spacer stud (M8) |
84X5850 |
| 3 |
Spacer stud, interrack |
22R5046 |
Figure 6. Installing
the interrack decorative covers
Table 6. Interrack decorative covers
(Models 941, 94E)| Index |
Part name |
Part number |
| 1 |
Cover, interrack decorative, side (one-piece
early version) |
22R4964 |
| 2 |
Cover, interrack decorative, side (two-piece/hinged
later version) |
23R10501 |
| 3 |
Cover, interrack decorative, top |
22R4962 |
|
|
Figure 7. Assembling
the later version of the interrack decorative side covers
Table 7. Interrack decorative side
covers (later version) (Models 941, 94E)| Index |
Part name |
Part number |
| 1 |
Cover, interrack decorative, side (two-piece/hinged
later version) |
23R1050 |
| 2 |
Bracket |
23R2044 |
| 3 |
Nut |
84X4841 |
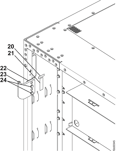
Table 8. Frames and covers labels (Models
941, 94E)| Index |
Part name |
Part number |
| 20 |
Label, serial number |
05J7400 |
| 21 |
Label, barcode serial number |
44F0924 |
| 22 |
Shim, rear door adjustment |
22R6151 |
| 23 |
Hinge, rear covers |
18P4578 |
| 24 |
Screw, rear hinges |
54G2882 |
Figure 9. Rack shelves
and brackets
Table 9. Frames and covers PPS shelf
and bracket (Models 941, 94E)| Index |
Part name |
Part number |
| 30 |
Shelf, PPS |
22R4942 |
| 31 |
Screw, PPS shelf mounting (M5x6) |
1621329 |
| N/A |
Bracket, PPS left (not shown) |
22R4943 |
| 32 |
Bracket, PPS right |
22R4944 |
| 33 |
Screw, PPS bracket (M5x8) |
1621842 |
Figure 10. Rack shelves
and brackets
Table 10. Frames and covers PPS shelf
and bracket (Models 941, 94E)| Index |
Part name |
Part number |
| 35 |
Housing assembly, RPC card |
22R4940 |
| 36 |
Bracket, cable routing |
22R6122 |
| 37 |
Rivets, RPC housing |
04F1988 |
Figure 11. Rack shelves
and brackets
Table 11. Frames and covers brackets
and screws (Models 941, 94E)| Index |
Part name |
Part number |
| 40 |
Bracket, cable routing |
22R6135 |
| 41 |
Screw, cable routing bracket |
1621842 |
| 42 |
Bracket, cable routing |
22R6136 |
| 43 |
Bracket, bus bar |
22R6132 |
| 44 |
Screw, bus bar |
54G2882 |
| 45 |
Screw, bus bar |
1624775 |
| 46 |
Bracket, side covers |
N/A |
| 47 |
Screw, side cover bracket |
1621842 |
Figure 12. Rack shelves
and wrappers
Table 12. Frames and covers shelves and
wrappers (Models 941, 94E)| Index |
Part name |
Part number |
| 50 |
Screw |
1621842 |
| 51 |
Bracket, PPS left |
22R4943 |
| 52 |
Slide, PPS |
22R0780 |
| 53 |
Screw, PPS slide mounting (M5x8) |
22R0780 |
| 54 |
Shelf, battery |
22R4946 |
| 55 |
Screw, battery shelf |
1621842 |
| 56 |
Wrapper, I/O enclosure |
23R1338 |
| 57 |
Screw, wrapper |
54G2882 |
| 58 |
Nut clip, wrapper |
74F1823 |
Figure 13. Rack shelves
and brackets
Table 13. Frames and covers brackets
and screws (Models 941, 94E)| Index |
Part name |
Part number |
| 60 |
Tailgate bar |
23R0039 |
| 61 |
Tailgate assembly, early version1 |
N/A |
| 61 |
Tailgate assembly, later version2 |
23R2456 |
| 62 |
Screw, tailgate assembly |
1621842 |
| 63 |
Bracket, cable |
22R4947 |
| 64 |
Screw, cable bracket |
1624775 |
| 65 |
Screw, cable bracket |
54G2882 |
|
|
Figure 14. Tailgate parts
(early version)
Table 14. Tailgate parts (early version)
(Models 941, 94E)| Index |
Part name |
Part number |
| 70 |
Bracket, strain relief |
N/A |
| 71 |
Screw, strain relief assembly mounting |
N/A |
| 72 |
Tailgate frame |
N/A |
| 73 |
Tailgate insert (clamping bracket)1 |
N/A |
| 74 |
Tailgate insert (clamping bracket)2 |
N/A |
| 75 |
Tailgate insert (clamping bracket)3 |
N/A |
| 76 |
Tailgate insert (clamping bracket)4 |
N/A |
Notes: - The rubber pad on the left side of the bracket is 11 mm (0.43
in.) thick.
The right pad is 6 mm (0.24 in.) thick.
- The rubber pad on the left side of the bracket is 9 mm (0.35)
thick.
The right pad is 6 mm (0.24 in.) thick.
- The rubber pad on the left side of the bracket is 6 mm (0.24)
thick.
The right pad is 11 mm (0.43 in.) thick.
- The rubber pad on each side of the bracket is 11 mm (0.43 in.)
thick.
|
Figure 15. Tailgate parts
(later version)
Table 15. Tailgate parts (later version)
(Models 941, 94E)| Index |
Part name |
Part number |
| 1 |
Tailgate frame |
22R2457 |
| 2 |
Bracket, strain relief |
22R4950 |
| 3 |
Tailgate insert (clamping bracket) |
1 |
| 4 |
Screw |
54G2882 |
Notes: - Call the next level of support.
|
Table 16. Casters (Models 941, 94E)| Index |
Part name |
Part number |
| 80 |
Nut, caster mounting |
1622420 |
| 81 |
Caster |
22R4156 |
| 82 |
Caster load plate |
22R4155 |
| 83 |
Caster shock pad |
22R4154 |