DS8000 Service Documentation Version 6.3.3
Safety label check
Use this topic to check for safety labels.
Go to the section for the rack model you are installing:
- Model 941, 94E, go to Section-1 Check safety labels for Model 941, 94E.
- Model 951, 95E, go to Section-2 Check safety labels for Model 951, 95E.
Section-1 Check safety labels for Model 941, 94E
Procedure
- Verify that all safety labels shown in the following steps are installed on the rack. If a safety label is missing, order it and install it.
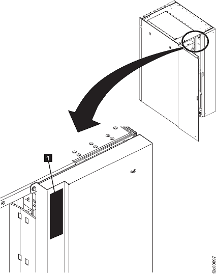
- Verify that a safety label P/N 22R3738
is installed on the right rear cover
of the rack. See Figure 1. This label
warns that only trained personnel are authorized to service the machine. Figure 1. Safety label (trained service personnel only) on the rear cover
- At the rear of the rack, where
mainline power cables 1 and 2 are connected to the primary power supplies
(PPSs), verify that each of two language versions of the safety label
(>200VAC)
is installed on each cable (two labels
on each cable). See Figure 2. These
labels warn of an electrical shock hazard: - Universal (multilanguage) English, French, German, Spanish, Korean, and Brazilian/Portuguese, P/N 08L8011
- Universal (multilanguage) Hungarian, Greek, Italian, Japanese, and Chinese, P/N 34L7775
Figure 2. Safety labels (">200VAC") on the mainline power cables
- At the rear of the rack, verify that a "DO
NOT RESET" safety label
is installed on CB00 at each PPS.
See Figure 3. Figure 3. Safety label ("DO NOT RESET") on CB00 of a PPS
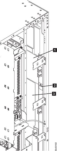
- At the rear of the rack, verify
that a safety label P/N 22R3416
is installed on the inner wall (right
side). See Figure 4. This label indicates
that mainline power is supplied to the rack through two cables (dual
power cable warning). Figure 4. Safety labels on the inner wall (rear, right side) (Model 941 shown, Model 951 similar)
- At the rear of the rack, verify that
a "Danger - High Leakage Current" safety label P/N 05N6608
is installed on the inner wall (right
side). See Figure 4. This label is
multilanguage (Brazilian/Portuguese, Chinese, Croatian, Czech Republic,
Danish, Finnish, French, French/Canadian, French/Dutch, German, Italian,
Japanese, Korean, Norwegian, Portuguese, Russian, Slovak, Spanish,
and Swedish). - At the rear of the rack, verify that a safety
label P/N 22R0897
is installed on the 208VDC bus bar
assembly. See Figure 4. This label
warns of an electrical shock hazard. - At the rear of the rack, verify that a safety
label P/N 22R0897
is installed in two places on the
208VDC distribution assembly. See Figure 5.
This label warns of an electrical shock hazard. Figure 5. Safety labels on the 208VDC distribution assembly
- At the rear of the rack, verify that a safety
label P/N 22R0898
is installed in two places on the
208VDC distribution assembly. See Figure 5.
This label warns that only trained personnel are authorized to service
the machine. - At the front of the rack, verify that a safety
label (>750V/>200V)
is installed on each PPS. See Figure 6. This label warns of an electrical
shock hazard. Figure 6. Safety label (">750V/250V") on a PPS
Note: This safety label cannot be ordered individually. If the label is missing, the PPS must be replaced. - At the rear of the rack, verify that a safety
label
is installed on each battery module.
See Figure 6. This label warns of
an electrical shock hazard. Figure 7. Safety label (shock hazard) on a battery module
Note: This safety label cannot be ordered individually. If the label is missing, the battery module must be replaced. - If this rack has I/O enclosures
(Rack-1, Rack-2), at the front of the rack, verify that a safety label
P/N 21P6691
is installed on each I/O enclosure.
See Figure 6. This label warns that
power is supplied to the I/O enclosure through two cables (dual power
cable warning). Figure 8. Safety labels on the I/O enclosures
- If this is Rack-1, at the front of the rack,
verify that a safety label P/N 97P5091
is installed on each CEC enclosure.
See Figure 6. This label, which lists
the weight of the CEC enclosure, warns that the part is relatively
heavy (weight warning). Figure 9. Safety label (weight warning) on a CEC enclosure
- If this is Rack-1, at the rear of the rack,
verify that a safety label P/N 21P6691
is installed on each CEC power supply.
See Figure 10. This label warns
that power is supplied to the CEC power supply through two cables
(dual power cable warning). Figure 10. Safety labels on a CEC power supply
- Continue with Ground jumper check.
Section-2 Check safety labels for Model 951, 95E
Procedure
- Verify that all safety labels shown in the following steps are installed on the rack. If a safety label is missing, order it and install it.
- Verify that a safety label P/N 22R3738
is installed on the right rear cover
of the rack. See Figure 11. This label
warns that only trained personnel are authorized to service the machine. Figure 11. Safety label (trained service personnel only) on the rear cover
- At the rear of the rack, where
mainline power cables 1 and 2 are connected to the primary power supplies
(PPSs), verify that each of two language versions of the safety label
(>200VAC)
is installed on each cable (two labels
on each cable). See Figure 12. These
labels warn of an electrical shock hazard: Figure 13- Universal (multilanguage) English, French, German, Spanish, Korean, and Brazilian/Portuguese, P/N 08L8011
- Universal (multilanguage) Hungarian, Greek, Italian, Japanese, and Chinese, P/N 34L7775
Figure 12. Safety labels (">200VAC") on the mainline power cables
- At the rear of the rack, verify that a "DO
NOT RESET" safety label
is installed on CB00 at each PPS.
See Figure 13. Figure 13. Safety label ("DO NOT RESET") on CB00 of a PPS
- At the rear of the rack, verify
that a safety label P/N 22R3416
is installed on the inner wall (right
side). See Figure 14. This label indicates
that mainline power is supplied to the rack through two cables (dual
power cable warning). Figure 14. Safety labels on the inner wall (rear, right side) (Model 941 shown, Model 951 similar)
- At the rear of the rack, verify that
a "Danger - High Leakage Current" safety label P/N 05N6608
is installed on the inner wall (right
side). See Figure 14. This label is
multilanguage (Brazilian/Portuguese, Chinese, Croatian, Czech Republic,
Danish, Finnish, French, French/Canadian, French/Dutch, German, Italian,
Japanese, Korean, Norwegian, Portuguese, Russian, Slovak, Spanish,
and Swedish). - At the rear of the rack, verify the following
safety labels are present on each PDU: Note: These labels cannot be ordered. If a label is missing, order a replacement PDU.
- Figure 15
, this label warns of no serviceable
internal parts and internal shock hazard. - Figure 16
, this label warns of double pole,
neutral fusing. - Figure 16
, this label warns that power is supplied
to the PDU through two cables (dual power cable warning). Figure 15. Safety labels on PDU, rear
Figure 16. Safety labels on the PDU, side
- Figure 15
- At the front of the rack, verify that a safety
label (>750V/>200V)
is installed on each PPS. See Figure 17. This label warns of an electrical
shock hazard. Figure 17. Safety label (">750V/250V") on a PPS
Note: This safety label cannot be ordered individually. If the label is missing, the PPS must be replaced. - At the rear of the rack, verify that a safety
label
is installed on each battery module.
See Figure 6. This label warns of
an electrical shock hazard. Figure 18. Safety label (shock hazard) on a battery module
Note: This safety label cannot be ordered individually. If the label is missing, the battery module must be replaced. - If this rack has I/O enclosures
(Rack-1, Rack-2), at the front of the rack, verify that a safety label
P/N 21P6691
is installed on each I/O enclosure.
See Figure 19. This label warns that
power is supplied to the I/O enclosure through two cables (dual power
cable warning). Figure 19. Safety labels on the I/O enclosures
- If this is a base rack (Rack-1), at the front
of the rack, verify that a safety label P/N 97P5091
is installed on each CEC enclosure.
See Figure 20This label, which lists
the weight of the CEC enclosure, warns that the part is relatively
heavy (weight warning). Figure 20. Safety label (weight warning) on a CEC enclosure
- If this is a base rack (Rack-1), at the rear
of the rack, verify that a safety label P/N 21P6691
is installed on each CEC power supply.
See Figure 21. This label warns
that power is supplied to the CEC power supply through two cables
(dual power cable warning). Figure 21. Safety labels on a CEC power supply
- Continue with Ground jumper check.