DS8000 Service Documentation Version 6.3.3
Rack brackets, sheet metal, and covers part numbers, Models 941, 94E
Use the figures and tables below to find information about parts such as rack brackets, sheet metal, and covers.
Note: The following part numbers are the most recent for this version of the
Parts Catalog. Your storage facility or serviceable event FRU list might contain an older or newer
part number. The parts-ordering system recognizes all valid part numbers and automatically
substitutes an available part number as needed.
Figure 1. Rack cover parts

| Index | Part name | Part number |
|---|---|---|
| 1 | Cover, front, Models 941, 94E | 45W4242 |
| 2 | Screw | 54G2882 |
| 3 | Cover, side | 22R59662 |
| 4 | Cover, rear, left3 | 22R6938 |
| 5 | Screw (M5x8) | 39J3128 |
| 6 | Cover, rear, right3 | 22R6940 |
| 7 | Pin, cover hinge | 22R4298 |
| 8 | Cover, side | 22R59662 |
| 9 | Bracket, side cover-to-rack | N/A |
| 10 | Screw, side cover bracket | 1621842 |
| 11 | Bracket, bottom hinge | 22R4959 |
| 12 | Screw, bracket-to-frame | 23R1520 |
| 13 | Hinge, rear cover | 18P4578 |
| 14 | Screw, rear cover hinge-to-frame | 23R1520 |
Notes:
|
||
Figure 2. Front cover
latch parts

| Index | Part name | Part number |
|---|---|---|
| 1 | Cover, front, aluminum | 22R1404 |
| Cover, front, steel | 23R0275 | |
| 2 | Latch, front cover | 21P4054 |
| 3 | Screw, bracket-to-frame | 22R0780 |
| 4 | Bracket, front cover latch | 41V0082 |
Figure 3. Front cover
stop and lower hinge parts

| Index | Part name | Part number |
|---|---|---|
| 1 | Cover, front, aluminum | 22R1404 |
| Cover, front, steel | 23R0275 | |
| 2 | Screw, stop strap (M6x20)1 | 22R3604 |
| 3 | Washer, stop strap1 | 22R3496 |
| 4 | Bushing/spacer, stop strap1 | 22R3495 |
| 5 | Bracket, stop strap1 | 22R3481 |
| 6 | Screw, bracket/hinge-to-frame | 23R1520 |
| 7 | Bracket/hinge, front cover mount, lower | 22R4959 |
Notes:
|
||
Figure 4. Rear cover
latch parts

| Index | Part name | Part number |
|---|---|---|
| 1 | Screw, bracket-to-frame | 23R1520 |
| 2 | Bracket, rear cover latch | 23R0871 |
| 3 | Rear cover, right1 | 23R1520 |
| 4 | Latch, rear cover | 21P4054 |
Notes:
|
||
Figure 5. Interrack spacer studs

| Index | Part name | Part number |
|---|---|---|
| 1 | Bolt, interrack spacer stud | 1621545 |
| 2 | Washer, interrack spacer stud (M8) | 84X5850 |
| 3 | Spacer stud, interrack | 22R5046 |
Figure 6. Installing the interrack decorative covers

| Index | Part name | Part number |
|---|---|---|
| 1 | Cover, interrack decorative, side (one-piece early version) | 22R4964 |
| 2 | Cover, interrack decorative, side (two-piece/hinged later version) | 23R10501 |
| 3 | Cover, interrack decorative, top | 22R4962 |
Notes:
|
||
Figure 7. Assembling the later version of the interrack decorative side covers

| Index | Part name | Part number |
|---|---|---|
| 1 | Cover, interrack decorative, side (two-piece/hinged later version) | 23R1050 |
| 2 | Bracket | 23R2044 |
| 3 | Nut | 84X4841 |
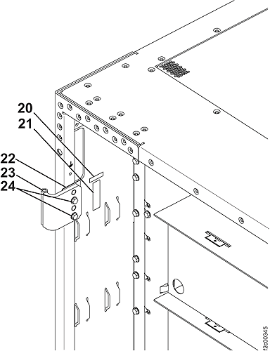
Figure 8. Rack labels

| Index | Part name | Part number |
|---|---|---|
| 20 | Label, serial number | 05J7400 |
| 21 | Label, barcode serial number | 44F0924 |
| 22 | Shim, rear door adjustment | 22R6151 |
| 23 | Hinge, rear covers | 18P4578 |
| 24 | Screw, rear hinges | 54G2882 |
Figure 9. Rack shelves
and brackets

| Index | Part name | Part number |
|---|---|---|
| 30 | Shelf, PPS | 22R4942 |
| 31 | Screw, PPS shelf mounting (M5x6) | 1621329 |
| N/A | Bracket, PPS left (not shown) | 22R4943 |
| 32 | Bracket, PPS right | 22R4944 |
| 33 | Screw, PPS bracket (M5x8) | 1621842 |
Figure 10. Rack shelves
and brackets

| Index | Part name | Part number |
|---|---|---|
| 35 | Housing assembly, RPC card | 22R4940 |
| 36 | Bracket, cable routing | 22R6122 |
| 37 | Rivets, RPC housing | 04F1988 |
Figure 11. Rack shelves
and brackets

| Index | Part name | Part number |
|---|---|---|
| 40 | Bracket, cable routing | 22R6135 |
| 41 | Screw, cable routing bracket | 1621842 |
| 42 | Bracket, cable routing | 22R6136 |
| 43 | Bracket, bus bar | 22R6132 |
| 44 | Screw, bus bar | 54G2882 |
| 45 | Screw, bus bar | 1624775 |
| 46 | Bracket, side covers | N/A |
| 47 | Screw, side cover bracket | 1621842 |
Figure 12. Rack shelves
and wrappers

| Index | Part name | Part number |
|---|---|---|
| 50 | Screw | 1621842 |
| 51 | Bracket, PPS left | 22R4943 |
| 52 | Slide, PPS | 22R0780 |
| 53 | Screw, PPS slide mounting (M5x8) | 22R0780 |
| 54 | Shelf, battery | 22R4946 |
| 55 | Screw, battery shelf | 1621842 |
| 56 | Wrapper, I/O enclosure | 23R1338 |
| 57 | Screw, wrapper | 54G2882 |
| 58 | Nut clip, wrapper | 74F1823 |
Figure 13. Rack shelves
and brackets

| Index | Part name | Part number |
|---|---|---|
| 60 | Tailgate bar | 23R0039 |
| 61 | Tailgate assembly, early version1 | N/A |
| 61 | Tailgate assembly, later version2 | 23R2456 |
| 62 | Screw, tailgate assembly | 1621842 |
| 63 | Bracket, cable | 22R4947 |
| 64 | Screw, cable bracket | 1624775 |
| 65 | Screw, cable bracket | 54G2882 |
Figure 14. Tailgate parts
(early version)

| Index | Part name | Part number |
|---|---|---|
| 70 | Bracket, strain relief | N/A |
| 71 | Screw, strain relief assembly mounting | N/A |
| 72 | Tailgate frame | N/A |
| 73 | Tailgate insert (clamping bracket)1 | N/A |
| 74 | Tailgate insert (clamping bracket)2 | N/A |
| 75 | Tailgate insert (clamping bracket)3 | N/A |
| 76 | Tailgate insert (clamping bracket)4 | N/A |
Notes:
|
||
Figure 15. Tailgate parts
(later version)

| Index | Part name | Part number |
|---|---|---|
| 1 | Tailgate frame | 22R2457 |
| 2 | Bracket, strain relief | 22R4950 |
| 3 | Tailgate insert (clamping bracket) | 1 |
| 4 | Screw | 54G2882 |
Notes:
|
||
Figure 16. Caster parts

| Index | Part name | Part number |
|---|---|---|
| 80 | Nut, caster mounting | 1622420 |
| 81 | Caster | 22R4156 |
| 82 | Caster load plate | 22R4155 |
| 83 | Caster shock pad | 22R4154 |